Como vimos en otro artículo hace unos días, la localización del espacio epidural es, en ocasiones, difícil y existen riesgos asociados a la técnica, al procedimiento y al paciente que pueden conllevar consecuencias catastróficas.
Para evitarlas, se han diseñado diferentes procedimientos técnicos, más o menos complejos, añadidos a la propia aguja epidural. Sirven para facilitar la localización del espacio epidural; demostrar objetivamente que se ha logrado; evitar la yatrogenia y como auxiliares en la formación de los médicos residentes y en prácticas, tal y como nos explica el doctor José Manuel Suarez Delgado, Anestesiólogo del Hospital Universitario Virgen del Rocío de Sevilla, en su tesis “Identificación del espacio epidural mediante jeringa de bajo coeficiente de rozamiento con presión positiva continua elástica no manual”.

Métodos clásicos de identificación del espacio epidural
Tal y como señala el doctor, existen distintos métodos para identificar el espacio epidural de forma segura y evitar complicaciones:
Método Sicard-Dogliotti
En los primeros años de desarrollo de la anestesia epidural, cuando el dr. Pagés la denominaba anestesia metamérica, propuso algunos refinamientos técnicos para la identificación del espacio epidural con mayor precisión, pero seguía siendo puramente táctil y dependía del sentido de “liberación” que el profesional sanitario experimentaba cuando la punta de la aguja vence la dureza del ligamento amarillo y penetra en el espacio epidural. Si se alcanza el objetivo sin que salga líquido cefaloraquídeo, se confirma la localización correcta.
Sin embargo, en 1921, Sicard y Forestier “identificaron el espacio epidural fijando una jeringa con líquido a la aguja e intentando la inyección continuamente, a la vez que avanzaban la aguja a través de los ligamentos. El espacio se localizaría al pasar el líquido al interior del espacio epidural, fruto de la diferente densidad existente entre este espacio y los tejidos circundantes.”
Este método fue popularizado por Dogliotti en los años 30 y se le conoce comúnmente como método de pérdida de resistencia. En la actualidad, se ha perfeccionado y podemos realizarlo de dos formas diferentes:
- Método de la jeringa cargada con líquido. Se sujeta la aguja con firmeza y el avance es lento y controlado. Es esencial la colocación del que la efectúa y la posición de las manos. El movimiento de avance debe ser gradual y continuo, nunca intermitente.
- Método de la jeringa cargada con aire. “El procedimiento y posición de las manos son exactos a los empleados con el sistema líquido. La única diferencia reside en la forma de comprimir el émbolo con el pulgar de la mano derecha que ahora puede ser intermitente con un movimiento rápido del pulgar comprimiendo y liberando alternativamente el aire del interior de la jeringa.”
Para llevar a cabo este método se utilizan agujas calibradas, estiletes mecánicos, la jeringa del método Brunner e Iklé, la técnica de la banda elástica de Dawkins-Iklé o el conocido balón de Macintosh.
Método de la gota pendiente o método Gutiérrez
Este método, que desarrollaron Gutiérrez y Soresi en los años 30 del s. XX, se guiaba por la consideración de la presencia de presión negativa real en el espacio epidural.
Se lleva a cabo situando una gota de anestésico local o de suero fisiológico en el cono de la aguja de Tuohy. “Se introduce lentamente la aguja hasta que se observa retraerse la gota en el cono, lo que indica que el bisel ha entrado en el espacio epidural. En este nivel cabe apreciar la falta de resistencia a la entrada de aire o anestésico local. La ventaja que ofrece esta técnica es la utilización de ambas manos para hacer avanzar cuidadosamente la aguja.”
Sin embargo, este método no es infalible, puesto que si hay movimientos musculares pueden producirse errores.
Se lleva a cabo utilizando manómetros de tubo en U, manómetros aneroides, ampolla indicadora de Zorraquin, indicador de Odom, balón indicador de Zelenka, indicador de Brooks, indicador de gravedad de Dawkings, mecanismos auditivos o los sistemas de perfusión líquida de Baraka, entre otros.
Otros métodos de identificación
Existen otros métodos de identificación basados en la presión negativa, como el Episensor, el registro de cambios de la impedancia eléctrica en los tejidos, la ultrasonografía, manometría y epiduroscopia.
Identificación del espacio epidural mediante jeringa de bajo coeficiente de rozamiento con presión positiva continua elástica no manual


El doctor José Manuel Suarez Delgado, Anestesiólogo del Hospital Universitario Virgen del Rocío de Sevilla, repasa en su tesis “Identificación del espacio epidural mediante jeringa de bajo coeficiente de rozamiento con presión positiva continua elástica no manual” todos estos métodos clásicos de identificación del espacio epidural antes de hacer una nueva propuesta que aporte simplicidad en la técnica y seguridad para el paciente y el profesional.
Tal y como lo describe el propio dr. Suarez Delgado, se trata de un método de identificación del espacio epidural “seguro, sencillo, económico, de fácil manejo, nada agresivo para el paciente, que aporta como novedad el poder utilizar ambas manos en el manejo técnico clínico del procedimiento de localización y el poder servir como material de aprendizaje en las fases iniciales de formación del anestesiólogo.”
Este sería un método alternativo al método Sicard-Dogliotti o de pérdida de resistencia para evitar algunas de las características negativas de esta técnica, como son: el uso de una presión no calibrada, es decir, que no se conoce, pues depende de la pericia del operador; o el manejo manual y discontinuo que precisa de entrenamiento.
De este modo, la propuesta del doctor Suarez Delgado es el uso un dispositivo de localización del espacio epidural con las siguientes características:
- Que aplique presión positiva continúa calibrada o conocida
- Cuyo uso no sea manual
- Que sea elástica
De este modo se puede aumentar la simplicidad de la técnica y la seguridad para paciente y profesional en su realización.
Epimatic, el dispositivo para localizar el espacio epidural de forma segura
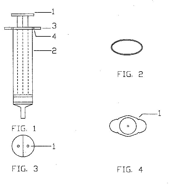
El doctor Suarez Delgado propuso un nuevo dispositivo cuya estructura permite que “el émbolo de la jeringa de bajo coeficiente de rozamiento se desplace libremente (sin necesidad de presión positiva manual) al detectar el espacio epidural, el cual presenta, por lo general, presión negativa en su interior. Para ello, el dispositivo está basado en la clásica jeringa de bajo coeficiente de rozamiento, pero con la particularidad de que cilindro y émbolo van unidos por una banda elástica.”
Este dispositivo funciona de la siguiente forma:
Tal y como se observa, la diferencia entre el dispositivo Epimatic y el método clásico de pérdida de resistencia es “el modo en que se ejerce la presión sobre el fluido contenido en la jeringa.” En el caso de Epimatic, la banda elástica que une el émbolo al cilindro de la jeringa es quien ejerce la presión.
“Una vez colocada la punta de la aguja de Tuohy en el ligamento interespinoso, el operador llena la jeringa de aire o suero fisiológico, lo que hace tensar la banda elástica, y la conecta a la aguja. En esta posición, la tensión de la banda genera una presión en el interior de la jeringa que sustituye a la presión manual del método de pérdida de resistencia tradicional (método táctil o de Sicard-Dogliotti). A continuación se hace avanzar la aguja, manejada con las dos manos, hasta alcanzar el espacio epidural, y en ese momento el contenido de la jeringa es inyectado a su interior, lo que permite su identificación.”
Ventajas del sistema Epimatic para la localización del espacio epidural

Entre las principales ventajas que han convertido este método en los últimos 20 años en un método de seguridad utilizado de forma especial en la enseñanza, destacan los resultados obtenidos por el dr. Suarez Delgado en la investigación para su tesis:
- Epimatic se ha probado como un método eficiente para la identificación del espacio epidural. Los resultados de las investigaciones evidencian que no incrementa la incidencia de complicaciones menores ni mayores que pudieran ocurrir durante la identificación del espacio epidural respecto del método habitual.
- Los operadores que participaron en el estudio señalaron que “aporta seguridad, fiabilidad y facilidad, no retrasando los tiempos de realización ni preparación de la técnica.”
- Permite liberar una mano gracias a la tira elástica que empuja directamente el émbolo. Esto permite:
- Un mejor control de la inserción sosteniendo con las dos manos la aguja de Tuohy.
- La posibilidad de hacer una segunda comprobación de seguridad utilizando con la mano liberada una sonda de ecógrafo.
- Estos elementos evidencian su papel fundamental en la formación de nuevos profesionales o como método de cateterización del espacio epidural en manos inexpertas.
aRTÍCULOS RELACIONADOS
- COMPLICACIONES ASOCIADAS A LA IDENTIFICACIÓN DEL ESPACIO EPIDURAL
- RIESGOS Y COMPLICACIONES ASOCIADOS A LAS TÉCNICAS DE ANESTESIA REGIONAL
- LA TENDENCIA HACIA LA WALKING EPIDURAL EN EL PARTO Y SUS VENTAJAS
- LA APARICIÓN DE LA ANESTESIA, UNA REVOLUCIÓN EN EL MUNDO DE LA MEDICINA
- FIDEL PAGÉS: EL PADRE DE LA ANESTESIA EPIDURAL FUE UN MÉDICO MILITAR ESPAÑOL CURTIDO EN LAS GUERRAS DE PRINCIPIOS DEL S. XX
- CLAVES PARA REALIZAR UN BUEN BLOQUEO INTERESCALÉNICO DEL PLEXO BRAQUIAL
- CLAVES PARA REALIZAR UN BUEN BLOQUEO DEL PLEXO BRAQUIAL A NIVEL AXILAR
- GUÍAS PARA LA ANESTESIA REGIONAL EN TIEMPOS DE COVID-19 SEGÚN ESRA Y ASRA
- VENTAJAS Y DESVENTAJAS DE LOS DISTINTOS TIPOS DE ANESTESIA REGIONAL
- ¿QUÉ ES LA ISO 80369-6 Y EN QUÉ AFECTA A LA ANESTESIA REGIONAL?
- EL FUTURO DE LA ANESTESIA LOCORREGIONAL. TÉCNICAS GUIADAS: ECOGRAFIA VS NEUROESTIMULACIÓN
- EL FUTURO DE LA ANESTESIA LOCORREGIONAL II. ABORDAJE INTEGRAL DEL DOLOR CRÓNICO
- EL FUTURO DE LA ANESTESIA REGIONAL III. LA NORMA ISO 80369-6 O NRFIT Y SUS IMPLICACIONES
- COMPARATIVA ENTRE LAS AGUJAS ESPINALES MÁS UTILIZADAS: CAPACIDAD DE DEFORMAR Y RESISTIR LA DEFORMACIÓN
- EL DOCTOR REINALDO SOBRE LA ISO 80369-6: “ESTOS MECANISMOS BARRERA LIMITARÁN EL ERROR HUMANO”
- NRFIT CASO 0: UNA SERIE DE CATASTRÓFICAS DESDICHAS QUE NO SE REPETIRÁ
- ENTREVISTA AL DR. CARLOS SALAZAR SOBRE CONTROL DEL DOLOR POSTOPERATORIO EN CIRUGÍA DE MAMA
- HABLAMOS CON LA DRA. ALMUDENA FERNÁNDEZ-BRAVO SOBRE EL TRATAMIENTO INTEGRAL DE LOS PACIENTES CON DOLOR
- ENTREVISTAMOS AL DR. CARLOS TORNERO TORNERO, VICEPRESIDENTE SECCIÓN ANESTESIA REGIONAL SEDAR
hAN COLABORADO
Residente de Pediatría del Hospital Doctor Peset de Valencia.
Soy responsable de contenidos de las unidades de negocio de Terapias Intravasculares y Obstetricia-Neonatología-Nutrición enteral en Vygon España
- EXPERIENCIA
He podido ejercer como enfermera durante varios años al principio de mi carrera, en múltiples ámbitos, entre otros como la neonatología, la pediatría, la medicina interna y la cirugía.
Desde mi llegada en Vygon en el año 2010, he podido desarrollar competencias en el terreno y adquirir conocimiento sobre productos, desarrollando una labor marketing y comercial.
- PUEDO AYUDARTE EN…
Resolver dudas sobre productos y sus aplicaciones ya que mi perfil combina a la vez marketing, comunicación y práctica clínica
Encontrar material digital sobre protocolos y técnicas así como literatura existentes en terapia intravascular, también en neonatología, obstetricia y nutrición enteral.
International Content Manager Hemodynamic Management ⋅ Vygon





Buenas tardes, información de la jeringa o dispositivo epimatic. Costos y donde se puede adquirir ?